ÑÇÐǹú¼Ê

ÑÇÐǹú¼Ê
§õ °ËµãÍøÂ罨Éè
ºþ±±Ê¡×¡½¨Ìü£º¿ËÈÕÆð×÷·ÏåàÑ¡£¬£¬½¨É赥λ×ÔÖ÷Ñ¡Ôñ£¡
ʱ¼ä£º -1-11-30 ä¯ÀÀÁ¿£º1400´Î
×ÖÌå ´ó ÖРС

¿ËÈÕ£¬£¬ºþ±±Ê¡×¡½¨ÌüÐû²¼¡¶¹ØÓÚ½øÒ»²½ÓÅ»¯È«Ê¡ºâÓîÊÐÕþ¹¤³ÌÊ©¹¤Í¼ÁªºÏÉó²éÊÂÇéµÄ֪ͨ¡·¡£¡£¡£¡£¡£

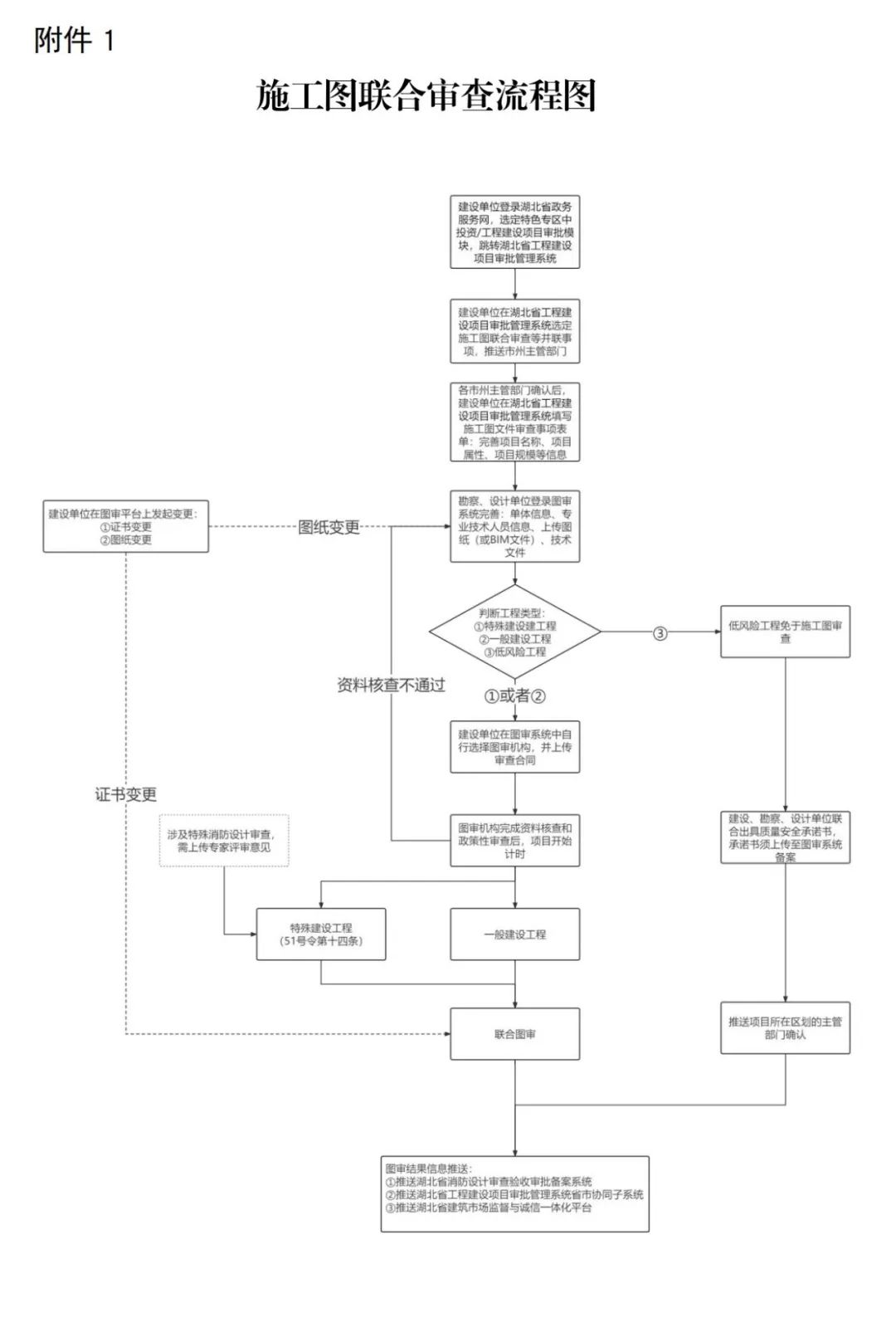
1¡¢×÷·ÏͼÉó»ú¹¹åàÑ¡¡£¡£¡£¡£¡£

×Ô±¾Í¨ÖªÓ¡·¢Ö®ÈÕÆð£¬£¬Í£Óá°Éó²é»ú¹¹åàÑ¡¡±¹¦Ð§Ä£¿£¿ £¿£¿é£¬£¬Óɽ¨É赥λ×ÔÖ÷Ñ¡ÔñͼÉó»ú¹¹¾ÙÐÐÊ©¹¤Í¼ÁªºÏÉó²é£¨²Ù×÷Á÷³ÌÏê¼û¸½¼þ1£©¡£¡£¡£¡£¡£

ÑÇÐǹú¼Ê¡¤yaxing(ÖйúÓÎ)¹Ù·½ÍøÕ¾

2¡¢ÍÆÐжþÉóÖÕÉóÖÆ¡£¡£¡£¡£¡£

¶Ô¶þ´Î¸´Éóȱ·¦¸ñµÄÏîÄ¿£¬£¬Í¼Éó»ú¹¹²»ÔÙ¸´É󣬣¬ÇÒÐë·¢·ÅÊ©¹¤Í¼Éó²éȱ·¦¸ñÊé¡£¡£¡£¡£¡£

3¡¢¼Ó´ó³é²éƵ´Î¡£¡£¡£¡£¡£

Ç¿»¯¶ÔÃâÉóÏîÄ¿µÄÊÂÖÐʺóî¿Ïµ£¬£¬¸÷µØÓ¦ÔÚÏîÄ¿Í깤ǰ£¬£¬¶ÔÃâÉóÏîÄ¿µÄ¿±Ì½Éè¼ÆÎļþ¾ÙÐгé²é¼ì²é£¬£¬³é²é±ÈÀý²»µÃµÍÓÚ60%¡£¡£¡£¡£¡£

ÑÇÐǹú¼Ê¡¤yaxing(ÖйúÓÎ)¹Ù·½ÍøÕ¾

¸÷ÊС¢ÖÝ¡¢Ö±¹ÜÊС¢ÉñÅ©¼ÜÁÖÇø×¡£¡£¡£¡£¡£¨³Ç£©½¨¾Ö£¬£¬¸÷Óйص¥Î»£º

ΪÀο¿ÌáÉýȫʡºâÓîÊÐÕþ¹¤³ÌÊ©¹¤Í¼ÁªºÏÉó²éË¢ÐÂЧ¹û£¬£¬½øÒ»²½ÓÅ»¯Ê©¹¤Í¼Éó²éЧÀÍ£¬£¬¸ü¸ßЧÂÊÍÆ½øÏîÄ¿½¨É裬£¬ÇÐʵÌá¸ßÆóÒµ»ñµÃ¸Ð¡¢Öª×ã¶È£¬£¬ÏÖ¾ÍÓйØÊÂÏî֪ͨÈçÏ£º

Ò»¡¢Ò»Á¬ÓÅ»¯ÓªÉÌÇéÐÎ

£¨Ò»£©×÷·ÏͼÉó»ú¹¹åàÑ¡¡£¡£¡£¡£¡£¼ò»¯Ê©¹¤Í¼Éó²éÊÂÇéÁ÷³Ì£¬£¬×Ô±¾Í¨ÖªÓ¡·¢Ö®ÈÕÆð£¬£¬Í£Óá°Éó²é»ú¹¹åàÑ¡¡±¹¦Ð§Ä£¿£¿ £¿£¿é£¬£¬Óɽ¨É赥λ×ÔÖ÷Ñ¡ÔñͼÉó»ú¹¹¾ÙÐÐÊ©¹¤Í¼ÁªºÏÉó²é£¨²Ù×÷Á÷³ÌÏê¼û¸½¼þ1£©¡£¡£¡£¡£¡£ÒÑåàÑ¡ÍêͼÉó»ú¹¹µÄÏîĿӦ¼ÌÐøÍê³ÉͼÉóÓªÒµ¡£¡£¡£¡£¡£

£¨¶þ£©ÍêÉÆÊ©¹¤Í¼·Ö¶ÎÉó²é¡£¡£¡£¡£¡£¶Ôͳһ½¨É蹤³ÌÍýÏëÔÊÐí֤ɿ¼°¶à¸öµ¥Ì幤³ÌµÄÏîÄ¿£¬£¬ÔÚÏîÄ¿×ÜÌåÇкÏÇå¾²Ìõ¼þµÄÌõ¼þÏ£¬£¬¿ÉÒÔÆ¾Ö¤µ¥Ì幤³ÌÉêÇëÊ©¹¤Í¼Éè¼ÆÎļþÉó²é£¬£¬¿ÉÒÔÔÚͼÉóϵͳÖа´µ¥Ìåµ¥¶À³ö¾ßÊ©¹¤Í¼ÁªºÏÉó²é¼°¸ñÊé¡£¡£¡£¡£¡£¶ÔÊÐÕþõè¾¶¡¢µØÏÂ×ۺϹÜÀÈ¡¢¹ìµÀ½»Í¨µÈÖØ´óÏßÐÔ¹¤³Ì£¬£¬¿ÉÒÔ°´±ê¶Î·Ö¶ÎÖÎÀíÊ©¹¤Í¼ÁªºÏÉó²é¡£¡£¡£¡£¡£ÃãÀøÓÅ»¯ÓªÉÌÇéÐÎÏÈÐÐÇøÌ½Ë÷½¨Éè»ù¿Ó»ò×®»ù¹¤³Ì½×¶Î·Ö¶ÎÉó²é»úÖÆ¡£¡£¡£¡£¡£

£¨Èý£©Ö´ÐмƷѲο¼ÒÀ¾Ý¡£¡£¡£¡£¡£¶ÔÕþ¸®¹ºÖÃЧÀ͵ÄÊ©¹¤Í¼ÁªºÏÉó²é£¬£¬¸÷µØÓ¦¹á³¹Ö´ÐС¶ºþ±±Ê¡ºâÓîÐÞ½¨ºÍÊÐÕþ»ù´¡ÉèÊ©¹¤³ÌÊ©¹¤Í¼ÁªºÏÉó²é¼Æ·Ñ²Î¿¼ÒÀ¾Ý£¨ÊÔÐУ©¡·£¬£¬·ÇÕþ¸®¹ºÖÃЧÀ͵ĿɲÎÕÕÖ´ÐС£¡£¡£¡£¡£

¶þ¡¢¶¦Á¦´ó¾ÙÌáÉýÊ©¹¤Í¼Éó²éÖÊÁ¿ºÍЧÀÍˮƽ

£¨Ò»£©ÍÆÐжþÉóÖÕÉóÖÆ¡£¡£¡£¡£¡£Í¼Éó»ú¹¹Ó¦ÔÚÊÕµ½Ê©¹¤Í¼Éè¼ÆÎļþ2¸öÊÂÇéÈÕÄÚ£¬£¬Ò»´ÎÐÔ¼û¸æÉêÇëÈËÐèÔö²¹µÄÖÊÁÏ¡£¡£¡£¡£¡£¿£¿ £¿£¿±Ì½Éè¼Æµ¥Î»Ó¦ÔÚ5¸öÊÂÇéÈÕÄÚ²¹ÆëÖÊÁÏ¡£¡£¡£¡£¡£Éó²éÒâ¼û·´Ïìºó£¬£¬¿±Ì½Éè¼Æµ¥Î»Ó¦ÔÚ£·¸öÊÂÇéÈÕ(BIMÏîĿΪ10¸öÊÂÇéÈÕ)ÄÚÍê³É»Ø¸´£¬£¬Í¼Éó»ú¹¹Ó¦ÔÚ3¸öÊÂÇéÈÕÄÚÍê³É¸´É󡣡£¡£¡£¡£¶Ô¶þ´Î¸´Éóȱ·¦¸ñµÄÏîÄ¿£¬£¬Í¼Éó»ú¹¹²»ÔÙ¸´É󣬣¬ÇÒÐë·¢·ÅÊ©¹¤Í¼Éó²éȱ·¦¸ñÊé¡£¡£¡£¡£¡£

£¨¶þ£©ÊµÑéͼÉóЧÀͺòîÆÀ¡£¡£¡£¡£¡£ÒÀÍкþ±±Ê¡Ê©¹¤Í¼Êý×Ö»¯ÁªºÏÉó²éϵͳ£¬£¬½¨Éè¡¢¿±Ì½Éè¼Æµ¥Î»ÔÚÍê³ÉͼÉóºó£¬£¬´ÓÖª×ã¶È¡¢Ê±Ð§ÐÔ¡¢×¨ÒµÐÔ¡¢ÇåÁ®¶ÈËĸöά¶È¶ÔͼÉóЧÀÍ¿ªÕ¹ºÃ²îÆÀ´ò·Ö¡£¡£¡£¡£¡£ÏµÍ³Ê×ҳʵʱ¶¯Ì¬ÏÔʾȫʡͼÉó»ú¹¹µÄЧÀÍ´ò·ÖÇéÐΡ£¡£¡£¡£¡£

£¨Èý£©¿ªÕ¹Í¼Éó»ú¹¹ÉóºËÆÀ¼Û¡£¡£¡£¡£¡£ÒÀÍкþ±±Ê¡Ê©¹¤Í¼Êý×Ö»¯ÁªºÏÉó²éϵͳ£¬£¬Ê¡¡¢ÊС¢ÏØ×¡½¨Ö÷¹Ü²¿·Öƾ֤¡¶ºþ±±Ê¡Ê©¹¤Í¼Éó²é»ú¹¹ÉóºËÆÀ¼Û²½·¥£¨ÊÔÐУ©¡·£¨¼û¸½¼þ2£©£¬£¬Æ¾Ö¤Ò»Ñùƽ³£î¿ÏµÇéÐζÔͼÉó»ú¹¹ÊµÑ鶯̬ÉóºËÆÀ·Ö¡£¡£¡£¡£¡£Ê¡×¡½¨ÌüÔ­ÔòÉÏÿ°ëÄê¶ÔȫʡͼÉó»ú¹¹¿ªÕ¹Ò»´Î×ÛºÏÆÀ¼Û£¬£¬Æ¾Ö¤ÓÅÒì¡¢ÓÅÒì¡¢Ò»Ñùƽ³£ºÍȱ·¦¸ñËĸöµÈ´ÎÈ·¶¨»ú¹¹¿¼ÆÀЧ¹û£¬£¬¿¼ÆÀЧ¹ûʵʱÏòÉç»áÐû²¼£¬£¬½ÓÊÜÉç»á¼àÊÓ¡£¡£¡£¡£¡£¿£¿ £¿£¿¼ÆÀȱ·¦¸ñµÄͼÉó»ú¹¹ÐëÏÞÆÚÕû¸Ä£¬£¬ÇÒÕûÍÑÆÚÄÚ²»µÃ³ÐÀ¿ÐµÄÓªÒµ¡£¡£¡£¡£¡£

Èý¡¢ÇÐʵÔöÇ¿ÊÂÖÐʺóÖÊÁ¿î¿Ïµ

£¨Ò»£©¼Ó´ó³é²éƵ´Î¡£¡£¡£¡£¡£¸÷µØ×¡½¨Ö÷¹Ü²¿·ÖÓ¦¼á³Ö¿±Ì½Éè¼ÆÖÊÁ¿¡°Ë«Ëæ»ú¡¢Ò»¹ûÕæ¡±¼ì²éµÄ³£Ì¬»¯¡¢¹æ·¶»¯ºÍÖÆ¶È»¯ÖÎÀí£¬£¬ÔöÇ¿ÓëÐÞ½¨Êг¡¡¢¹¤µØÏÖ³¡µÄÁª¶¯î¿Ïµ£¬£¬·ÖÄê¶È¡¢¼¾¶È»®·Ö¶ÔÏ½ÇøÄÚÔÚ½¨¹¤³ÌµÄÊ©¹¤Í¼Éè¼ÆÎļþ¿ªÕ¹³é²é¡£¡£¡£¡£¡£Ç¿»¯¶ÔÃâÉóÏîÄ¿µÄÊÂÖÐʺóî¿Ïµ£¬£¬¸÷µØÓ¦ÔÚÏîÄ¿Í깤ǰ£¬£¬¶ÔÃâÉóÏîÄ¿µÄ¿±Ì½Éè¼ÆÎļþ¾ÙÐгé²é¼ì²é£¬£¬³é²é±ÈÀý²»µÃµÍÓÚ60%£¬£¬³é²éÇéÐÎӦʵʱÏòÉç»áÐû²¼²¢×öºÃÕû¸ÄÂäʵ¡£¡£¡£¡£¡£

£¨¶þ£©½¡È«°ü¹Ü»úÖÆ¡£¡£¡£¡£¡£ÃãÀø¸÷µØÁ¬ÏµÍâµØÇøÏÖÊµÍÆÐÐÊ©¹¤Í¼Éó²éÕþ¸®¹ºÖÃЧÀÍ¡£¡£¡£¡£¡£½øÒ»²½³ä·ÖÊ¡ÊÐÁ½¼¶¿±Ì½Éè¼ÆÖÊÁ¿³é²éר¼Ò¿â£¬£¬ÔÚºþ±±Ê¡Ê©¹¤Í¼Êý×Ö»¯ÁªºÏÉó²éϵͳÖÐʵʱ¸üÐÂר¼ÒÃûµ¥¡£¡£¡£¡£¡£Ê©¹¤Í¼ÖÊÁ¿³é²éЧÀ;­·ÑÓ¦×ã¶îÄÉÈ벿·ÖÔ¤Ë㣬£¬Ê¹ÓÃϵͳ¿ªÕ¹ÊÂÖÐʺóÖÊÁ¿³é²é¡£¡£¡£¡£¡£

£¨Èý£©¼á³ÖÑϹÜÖØ·£¡£¡£¡£¡£¡£Í¼Éó»ú¹¹Ó¦ÑÏ¿á×ñÊØÊ©¹¤Í¼ÁªºÏÉó²éÓйػ®¶¨£¬£¬ÑϽû½ÓÄɲ»Õýµ±ÊֶζñÐÔ¾ºÕù£¬£¬ÑϽû˽×ÔïÔÌ­Éó²éÄÚÈÝ¡¢½µµÍÉó²é±ê×¼¡£¡£¡£¡£¡£¸÷µØ¶Ô·¢Ã÷µÄÎ¥·¨Î¥¹æºÍÎ¥·´Ç¿ÖÆÐÔ±ê×¼µÄÐÐΪ´ÓÑÏ¡¢´ÓÖØ¡¢¸Ï¿ì´¦Öóͷ££¬£¬ÇÐʵ¾ÀÕý´¦Öóͷ£´¦·ÖÖеġ°¿íËÉÈí¡±ÎÊÌâ¡£¡£¡£¡£¡£½¨É轡ȫ³ÏÐÅÖÎÀíÖÆ¶©£¬£¬ÆóÒµºÍÖ°Ô±µÄ³ÏÐÅÐÅϢʵʱ¼Èë¡°ºþ±±Ê¡ÐÞ½¨Êг¡î¿ÏµÒ»Ì廯ƽ̨¡±£¬£¬ÒÀ·¨¶ÔÉç»á¹ûÕæÐû²¼¡£¡£¡£¡£¡£


΢ÐÅɨһɨ¿´ÎÄÕÂ
¡¾ÍøÕ¾µØÍ¼¡¿¡¾sitemap¡¿